时隔3年,功率器件“小巨人”长晶科技重启IPO
扫一扫
分享文章到微信

扫一扫
关注豌豆财经网微信公众号
中国证监会官网显示,江苏长晶科技股份有限公司(简称“长晶科技”)已于1月15日向江苏证监局申请办理IPO辅导备案登记,辅导机构为华泰联合证券。

辅导备案显示,长晶科技成立于2018年11月,注册资本4.35亿元,法定代表人杨国江。公司控股股东为上海江昊企业管理咨询有限公司,直接持有公司股份6.9%,并担任公司股东、员工持股平台南京江澄企业管理咨询合伙企业(有限合伙)、上海傅誉企业管理咨询合伙企业(有限合伙)的执行事务合伙人,其直接和间接合计控制公司31.62%的表决权。
此前,公司曾冲刺创业板未果。
曾冲刺创业板
功率IDM“小巨人”
根据披露,长晶科技曾于2022年9月向深交所递交创业板上市申请并获得受理。在经过两轮问询后,因公司于2023年9月主动向深交所申请撤回上市申请,深交所于2023年9月19日终止了对其发行上市的审核。

根据彼时披露的招股书,公司主营产品按照是否封装可以分为成品(分立器件、电源管理IC)和晶圆两大类。
公司主要采用Fabless轻资产运营模式,与长电科技(600584)、中芯绍兴等主要供应商建立了长期稳定的合作关系。同时,公司为满足发展需求,初步构建了IDM(垂直整合制造)运营体系,子公司新顺微主营晶圆制造业务,长晶浦联、海德半导体则具备封测能力。
彼时的财务数据显示,长晶科技在2022年的营收已经接近19亿元。

根据披露,2019年度、2020年度、2021年度,公司连续被中国半导体行业协会评为“功率器件十强企业”。
根据芯谋研究报告的市场统计,2021年度公司的分立器件产品营收规模在中国分立器件厂商中排名第7位,在全球市场中排名第23位,全球市场占有率达1.1%。公司的晶圆制造子公司新顺微主营分立器件晶圆制造,根据江苏省半导体行业协会统计数据,2021年,新顺微在江苏省晶圆制造企业销售收入排名中位居第5。
此前,长晶科技顺利通过工业和信息化部开展的2025年专精特新“小巨人”企业复核,继续入选该名单。
系出“长电”
小米、OPPO是股东
公开资料显示,长晶科技曾为长电科技时任第一大股东国家集成电路产业投资基金股份有限公司的联营企业,其前身多数为收购的长电科技资产,其董事长杨国江也曾任职于长电科技。
此前披露的招股书显示,长晶科技于2018年11月成立,当年12月就收购了深圳长晶100%股权及新申弘达(承接长电科技本部分立器件销售业务) 100%股权,于2020年10月收购了海德半导体100%股权,于2022年1—3月合计收购了新顺微67.11%直接或间接股权并于2022年3月底实现了对新顺微的控制。
深圳长晶曾用名“深圳长电科技有限公司”,新顺微曾名“江阴新顺微电子有限公司”,均曾经为长电科技的控股子公司。
长电科技在2019年年报中披露,公司于2018年出售持有的江阴新顺微电子有限公司75%股权、深圳长电科技有限公司80.67%股权及江阴新申弘达半导体销售有限公司100%股权,本次交易价格包括标的公司(新顺微电子和深圳长电)现金分红、交易对方现金对价和过渡期损益分配三项,其中现金分红为2.39亿元、交易对方现金对价为6.59亿元、自评估基准日至交割日期间(过渡期)标的股权产生的损益归公司所有或承担,根据交易双方共同委托的会计师事务所出具的过渡期审计报告来确定,并以分红形式实现。
此前,长晶科技披露的实控人情况显示,其实控人杨国江,曾任长电科技深圳分公司总经理、江阴新申弘达半导体销售有限公司总经理等职务。

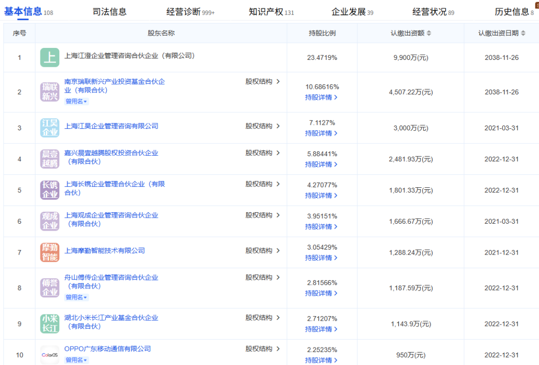
企查查显示,长晶科技现有股东48名,背后不乏上市公司和知名CVC基金。具体来看:
上海摩勤智能技术有限公司持有公司股份3.05429%,摩勤智能是华勤技术(603296)的全资子公司。
湖北小米长江产业基金合伙企业(有限合伙)持股2.71207%。
OPPO广东移动通信有限公司持股2.25235%。
国泰海通全资子公司海通创新证券投资有限公司持股1.10332%。
财富趋势全资子公司武汉通达信数字科技有限公司持股1.10332%。
财通证券(601108)全资子公司财通创新投资有限公司持股0.97778%。

投稿邮箱:lukejiwang@163.com 详情访问豌豆财经网:http://www.wdyxw.com.cn
头条资讯























